
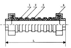
主要材料(liào)表(biǎo):
|
序號(hào)
|
名(míng)稱
|
材料(liào)
|
|
1
|
內層膠
|
耐熱橡膠
|
|
2
|
外層膠
|
耐老化(huà)橡(xiàng)膠(jiāo)
|
|
3
|
增強層
|
尼龍簾布
|
|
4
|
螺紋活接頭
|
可鍛鑄鐵(tiě)
|
掃一掃關注(zhù)我們